IEC
IEC 61754-13:2024/COR1:2025
(Corrigendum)Corrigendum 1 - Fibre optic interconnecting devices and passive components - Fibre optic connector interfaces - Part 13: Type FC-PC connector family
Corrigendum 1 - Fibre optic interconnecting devices and passive components - Fibre optic connector interfaces - Part 13: Type FC-PC connector family
Corrigendum 1 - Dispositifs d'interconnexion et composants passifs fibroniques - Interfaces de connecteurs fibroniques - Partie 13: Famille de connecteurs de type FC-PC
General Information
Status
Published
Publication Date
04-Jun-2025
Technical Committee
Current Stage
PPUB - Publication issued
Start Date
05-Jun-2025
Completion Date
17-Jul-2025
Relations
Standards Content (Sample)
© IEC 2025
INTERNATIONAL ELECTROTECHNICAL COMMISSION
COMMISSION ÉLECTROTECHNIQUE INTERNATIONALE
____________
IEC 61754-13 IEC 61754-13
Edition 3.0 2024-05 Édition 3.0 2024-05
FIBRE OPTIC INTERCONNECTING DEVICES DISPOSITIFS D'INTERCONNEXION ET
AND PASSIVE COMPONENTS – FIBRE OPTIC COMPOSANTS PASSIFS FIBRONIQUES –
CONNECTOR INTERFACES – INTERFACES DE CONNECTEURS
FIBRONIQUES –
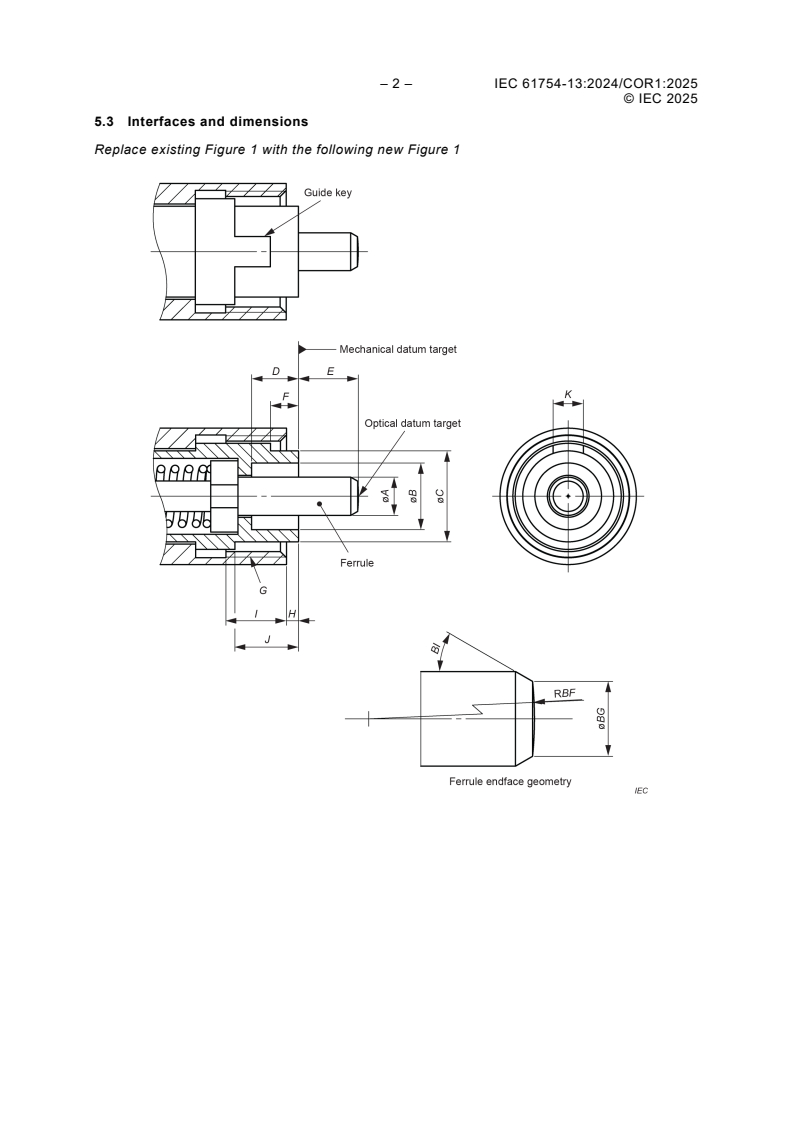
Part 13: Type FC-PC connector family Partie 13: Famille de connecteurs
de type FC-PC
CO RRI G E NDUM 1
Corrections to the French version appear after the English te
...








Questions, Comments and Discussion
Ask us and Technical Secretary will try to provide an answer. You can facilitate discussion about the standard in here.